18927565148(微信同号)
一、客户基本情况
陶氏化学公司(Dow Chemical Company)是一家总部位于美国的全球性跨国化工公司。作为化学工业的领导者之一,陶氏化学在全球50多个国家和地区建有工厂,其产品广泛应用于建筑、水净化、造纸、药品、交通、食品及食品包装、家居用品和个人护理等多个领域。
产品研发要求:PP透气膜
二、设备开发过程
1. 设计之前已经做样机验证;为众多客户提供了这款纵向薄膜拉伸机,并且取得了非常好的效果。客户在使用我们的设备后,薄膜的质量得到了显著提升,生产效率提高了,同时降低了生产成本。他们对我们的设备非常满意,并且给予了高度评价。
2. 设计思路过程
- 确定适用材料:首先要明确纵向拉伸机所针对的薄膜材料类型,如聚乙烯(PE)、聚丙烯(PP)、聚酯(PET)等。不同材料的物理特性和拉伸要求各不相同,这将影响设备的设计参数。
- 设定生产能力:根据市场需求和客户要求,确定纵向拉伸机的生产能力,包括薄膜的宽度、厚度范围以及生产速度等。这将决定设备的尺寸、功率和传动系统的设计。
- 满足质量要求:设计的纵向拉伸机应能够生产出符合质量标准的薄膜,包括厚度均匀性、拉伸强度、透明度等指标。这需要精确的温度控制、张力控制和拉伸机构设计。
- 拉伸结构设计:拉伸机构是纵向拉伸机的核心部分,通常采用多组拉伸辊进行拉伸。拉伸辊的数量、直径、间距和表面处理等参数需要根据薄膜材料和拉伸要求进行设计,以确保薄膜在拉伸过程中受力均匀,不产生褶皱和断裂。
3. 工艺调试:
- 进行薄膜的试生产,调整拉伸机的工艺参数,如拉伸温度、拉伸比、速度等。观察薄膜的拉伸效果和质量,不断调整工艺参数,直到达到最佳的拉伸效果和质量。
- 对试生产的薄膜进行质量检测,包括厚度均匀性、拉伸强度、透明度等指标。根据检测结果,进一步调整工艺参数,提高薄膜的质量。
三、设备技术指标
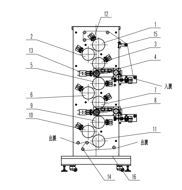
1. 绕膜图

图中所标示
1、2——一级预热辊;
3——一级固定拉伸辊;
4——-一级移动拉伸辊;
5——二级预热辊;
6、7——二级固定拉伸辊;
8——二级移动拉伸辊;
9、10——定型辊;
11——冷却辊
12、13——气动压胶辊
14、15——过渡辊
16——机架
2. 设备图

3. 技术参数、配置
一/二级预热辊(各2组)、 一/二级固定拉伸辊(各1组)、 定型辊(2组)/冷却辊(1组) | 直径Ф210mm,宽度600mm |
一级/二预热辊/固定拉伸辊/定型辊/冷却电机功率电机功率 | 1kW |
一级预热辊/固定拉伸辊线速度范围 | 0~10m/min |
一级/二级移动拉伸辊(各1组) | 直径Ф120mm,宽度600mm |
一级/二级移动拉伸辊电机功率 | 1.5kW |
一级移动拉伸辊线速度范围 | 0~20m/min |
二级预热辊/固定拉伸线速度范围 | 0~20m/min |
二级移动拉伸辊线速度范围 | 0~30m/min |
定型辊/冷却辊线速度范围 | 0~30m/min |
4. 产品通过CE认证,CE编号:GZES1808014326MDC
四、成果:本设备能完全满足客户的生产实验要求。